您当前的位置:成果库 > 一种用于集成的异形端面光纤耦合器
基本信息
- 成果类型 高等院校
- 委托机构 西安电子科技大学
- 成果持有方 西安电子科技大学
- 行业领域 通讯领域
- 项目名称 一种用于集成的异形端面光纤耦合器
- 知识产权 发明专利
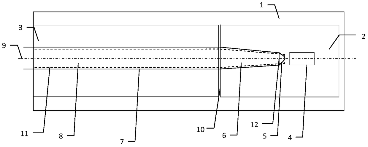
- 项目简介 本发明涉及一种用于集成的异形端面光纤耦合器,包括集成芯片板、光纤固定板和基板:光纤固定板上设置有容纳光纤的光纤V形槽,集成芯片板上设有集成芯片V形槽;集成芯片板上包括半导体激光器芯片、裸光纤半柱透镜和特殊光纤,裸光纤半柱透镜的平面端与特殊光纤的入射端面用光胶粘在一起;集成芯片V形槽与特殊光纤经过特殊处理的表面相匹配;光纤V形槽与特殊光纤的正常表面相匹配;半导体激光器芯片、裸光纤半柱透镜和特殊光纤处在同一光轴上。本发明的优点体现在:采用的组件是半导体激光芯片、裸光纤半柱透镜以及特殊光纤,体积小,可以组装实现集成;多方面的提高耦合效率,结构简单,容易获得,价格低廉。
-
交易信息
- 意向交易额 面议
- 挂牌时间 2017/12/22
- 委托机构 西安电子科技大学
- 联系人姓名 王小刚
- 联系人电话 15802954800
- 联系人邮箱 745490733@qq.com
- 分享至:


451
2018/08/25
咨询成果
发布成果